Машинатор » Ползун на рельсовом колесе

Ползун на рельсовом колесе

22 фев
---
0
0

Износ головки рельса р 65
Износ головки рельса р 65

Перевозка Локомотива на вертолете
Перевозка Локомотива на вертолете

Навар ползун выщербина
Навар ползун выщербина

Навар колесной пары вагона
Навар колесной пары вагона

Боксование колесных пар Локомотива
Боксование колесных пар Локомотива

Навар ползун выщербина
Навар ползун выщербина

Рельс Железнодорожный
Рельс Железнодорожный

Шкворень грузового вагона
Шкворень грузового вагона

Колесо трамвая
Колесо трамвая



Схема неисправности колесной пары

Фото: Схема неисправности колесной пары




Железнодорожное колесо
Железнодорожное колесо

Остроконечный подрез гребня колесной пары
Остроконечный подрез гребня колесной пары

Неисправности колесной пары навар
Неисправности колесной пары навар

ЗИЛ 130 на рельсах
ЗИЛ 130 на рельсах

Реборда колесной пары
Реборда колесной пары

Колесо с ребордой
Колесо с ребордой



Вертикальный подрез гребня колесной пары Локомотива

Фото: Вертикальный подрез гребня колесной пары Локомотива


Колесная пара грузового вагона схема
Колесная пара грузового вагона схема

Дефекты колесных пар ползун
Дефекты колесных пар ползун

Неисправности колесных пар ПТЭ
Неисправности колесных пар ПТЭ

Фрикционный гаситель колебаний 18-100
Фрикционный гаситель колебаний 18-100

Кольцевая выработка колесной пары
Кольцевая выработка колесной пары

T-track профиль 19 мм
T-track профиль 19 мм

Колесная пара Локомотива неисправности
Колесная пара Локомотива неисправности

Колесная пара 2эс6
Колесная пара 2эс6

Выкрашивание головки рельса
Выкрашивание головки рельса

Трещина обода колесной пары
Трещина обода колесной пары

Колесная пара 2эс6
Колесная пара 2эс6

Дефект рельса 55.2
Дефект рельса 55.2

Наплавка колёсных пар д810
Наплавка колёсных пар д810

Выщербина колесной пары
Выщербина колесной пары

Трещина колесной пары
Трещина колесной пары

Ускоренное охлаждение рельса после прокатки
Ускоренное охлаждение рельса после прокатки

Неисправности колесной пары электровоза
Неисправности колесной пары электровоза



Лубрикация система колесо рельс
Лубрикация система колесо рельс

Излом колеса вагона

Фото: Излом колеса вагона


Концевые тележки для опорной кран балки
Концевые тележки для опорной кран балки

Иллюстрированное пособие машинисту паровоза
Иллюстрированное пособие машинисту паровоза



Кривошипно-шатунный механизм паровоза
Кривошипно-шатунный механизм паровоза

Дефекты колесных пар пассажирских вагонов
Дефекты колесных пар пассажирских вагонов

Парораспределительный механизм Вальсхарта
Парораспределительный механизм Вальсхарта



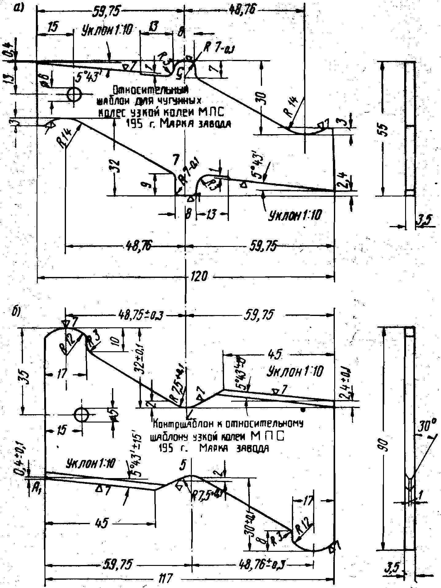
Замер колесной пары шаблонами
Замер колесной пары шаблонами

Колесо крановое к1р-300 Уралремдеталь
Колесо крановое к1р-300 Уралремдеталь





Профиль бандажа колесной пары Локомотива
Профиль бандажа колесной пары Локомотива

Стяжка рельсовой колеи УСП-1520
Стяжка рельсовой колеи УСП-1520

Колеса поезда
Колеса поезда

Колесные пары для рельс р8
Колесные пары для рельс р8



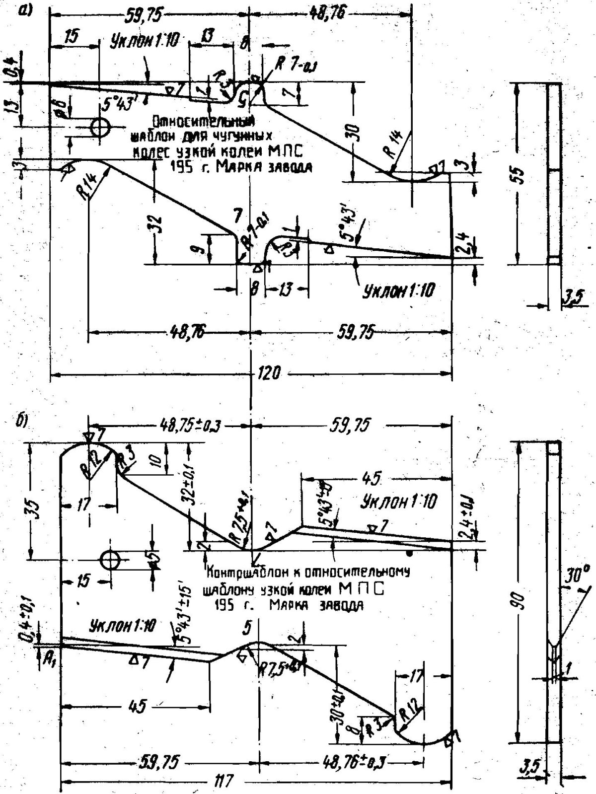
УТ 1 шаблон для измерения колесных пар
УТ 1 шаблон для измерения колесных пар

Грузовая тележка ЖД вагона
Грузовая тележка ЖД вагона

Похожие фото:

Комментарии
Минимальная длина комментария - 50 знаков. комментарии модерируются
Кликните на изображение чтобы обновить код, если он неразборчив