Машинатор » Механизм для уменьшения подъемной силы

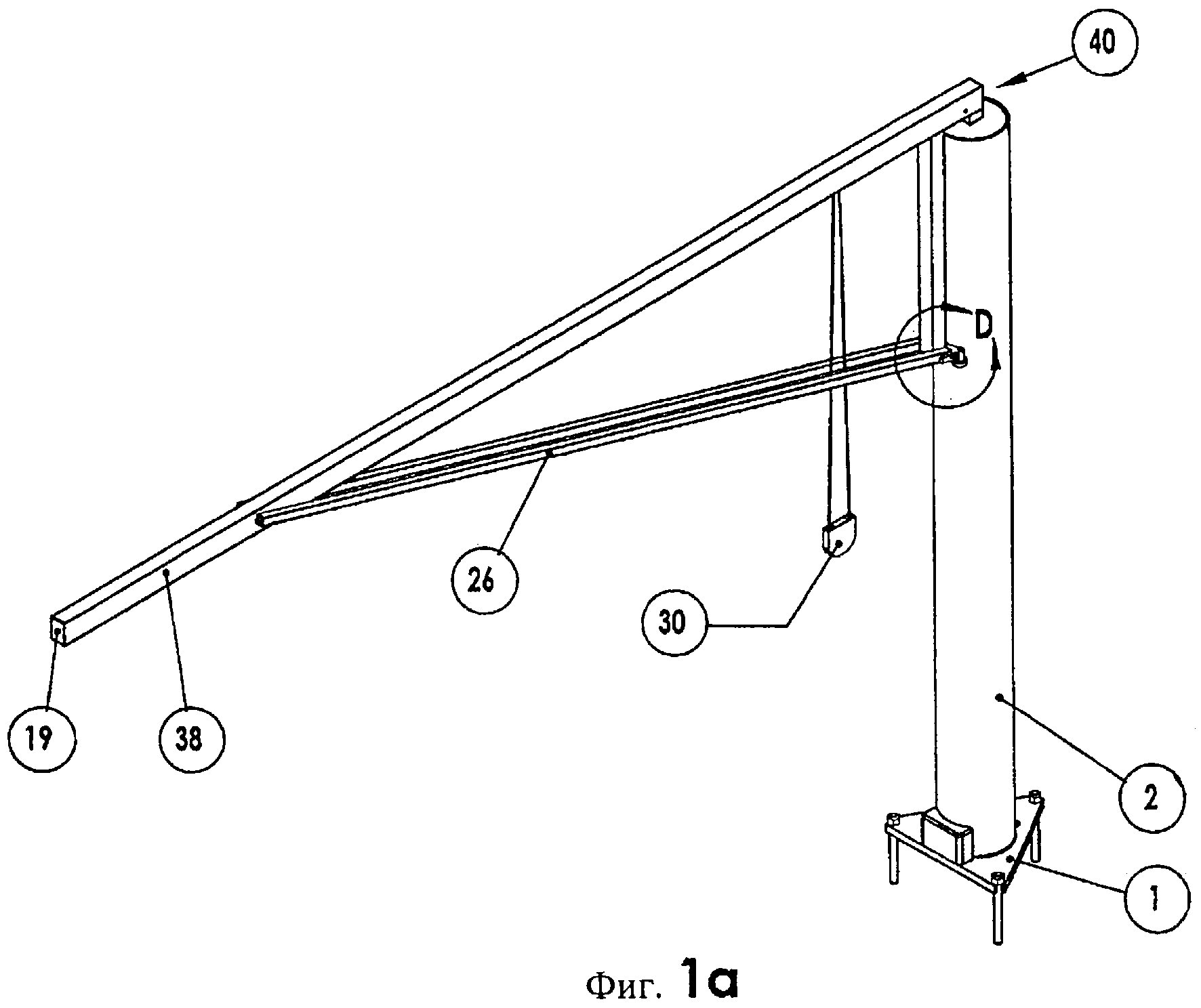
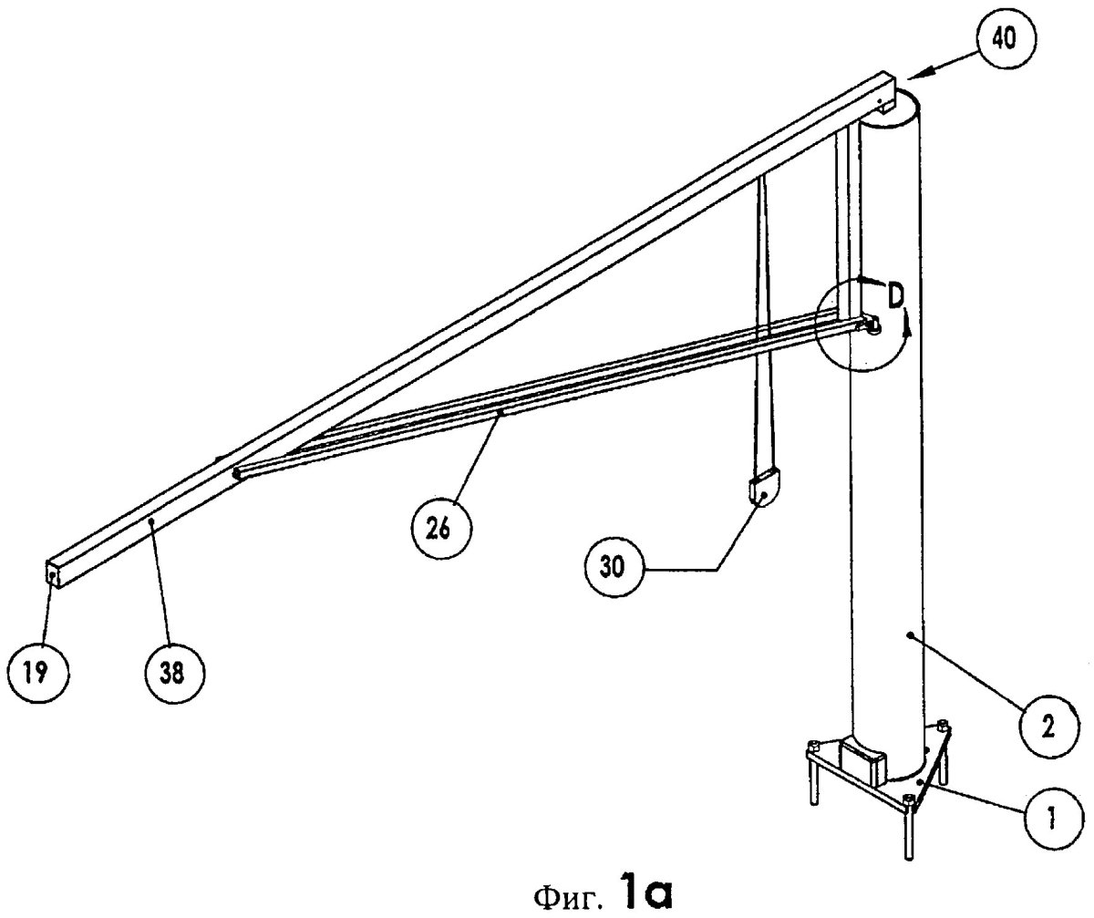
Механизм для уменьшения подъемной силы

07 мар
---
0
0



Блок для увеличения тягового усилия лебедки
Блок для увеличения тягового усилия лебедки

Блоки монтажные полиспаст 30 т
Блоки монтажные полиспаст 30 т

Блоки полиспаста запасовка
Блоки полиспаста запасовка

Схема грузового полиспаста башенного крана
Схема грузового полиспаста башенного крана

Полиспаст 8/2
Полиспаст 8/2

Простые механизмы физика рычаг
Простые механизмы физика рычаг

Система блоков полиспаст
Система блоков полиспаст

Блок полиспаст 6мм
Блок полиспаст 6мм

Система блоков полиспаст схема
Система блоков полиспаст схема

Блок монтажный полиспаст 2т

Фото: Блок монтажный полиспаст 2т


Tor таль ТЭК электрическая
Tor таль ТЭК электрическая

Как рассчитать газовый лифт
Как рассчитать газовый лифт

Полиспаст 7 к 1
Полиспаст 7 к 1

Станок для снаряжения патронов барсук 103
Станок для снаряжения патронов барсук 103

Рычажный подъемный механизм
Рычажный подъемный механизм

Способы создания подъемной силы
Способы создания подъемной силы





Джет подъемный механизм

Фото: Джет подъемный механизм




Схема манипулятора unic 330
Схема манипулятора unic 330

Колодочный тормоз схема
Колодочный тормоз схема

Индуктивное сопротивление крыла самолета
Индуктивное сопротивление крыла самолета



Схема подъема на 2 жумарах
Схема подъема на 2 жумарах





Проем 260=210 чертеж ворота рычажно подъемные
Проем 260=210 чертеж ворота рычажно подъемные



Стрела автокрана КС-45717
Стрела автокрана КС-45717



Принцип подъемной силы крыла самолета
Принцип подъемной силы крыла самолета

Закрылки аэродинамика
Закрылки аэродинамика



Складной подъемник Blum Aventos HF присадка
Складной подъемник Blum Aventos HF присадка

Средняя аэродинамическая хорда крыла
Средняя аэродинамическая хорда крыла

Подъемный механизм № 524 трансформации кровати 31312
Подъемный механизм № 524 трансформации кровати 31312

Закрылки крыла самолета
Закрылки крыла самолета

Блок для подъема груза стропой 50 мм

Фото: Блок для подъема груза стропой 50 мм


Крыльчатка патент
Крыльчатка патент

Полиспаст-блоки «промальп 3
Полиспаст-блоки «промальп 3



Формула тяги воздушного винта
Формула тяги воздушного винта

Подъем груза лебедкой схема
Подъем груза лебедкой схема

Лебедка электрическая Camac Minor 300 кг.
Лебедка электрическая Camac Minor 300 кг.



УАЗ - самосвал механизма опрокидывания платформы
УАЗ - самосвал механизма опрокидывания платформы

Полиспаст 5 к 1
Полиспаст 5 к 1

Полиспаст Архимеда
Полиспаст Архимеда



Оголовок стрелы крана IHI 700
Оголовок стрелы крана IHI 700

Подъем и перемещение грузов кранами схема
Подъем и перемещение грузов кранами схема

Ножничный подъемник lt1000
Ножничный подъемник lt1000

Подъемный механизм Top stay se DTC
Подъемный механизм Top stay se DTC

Рычажная система подъема
Рычажная система подъема

Похожие фото:

Комментарии
Минимальная длина комментария - 50 знаков. комментарии модерируются
Кликните на изображение чтобы обновить код, если он неразборчив