Машинатор » Форштевень

Форштевень

19 мар
---
0
0







Форштевень на судне
Форштевень на судне

Ахтерштевень корабля
Ахтерштевень корабля







Форштевень и ахтерштевень
Форштевень и ахтерштевень

Форштевень Драккара
Форштевень Драккара

Накладка на форштевень Обь 1

Фото: Накладка на форштевень Обь 1


Форштевень ахтерштевень судна
Форштевень ахтерштевень судна

Катера с обратным наклоном форштевня
Катера с обратным наклоном форштевня

Кормовой шпангоут судна чертеж
Кормовой шпангоут судна чертеж



Замена форштевня на Казанке
Замена форштевня на Казанке





Ледовый пояс судна
Ледовый пояс судна





Крепления весел Казанка м
Крепления весел Казанка м

Корма судна
Корма судна













Ботик Петра 1
Ботик Петра 1

Лодка ПНД бурмантовка
Лодка ПНД бурмантовка

Ледокольный форштевень
Ледокольный форштевень



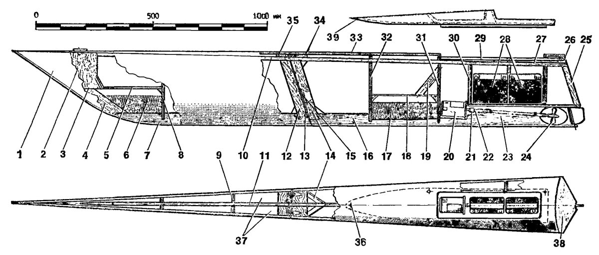
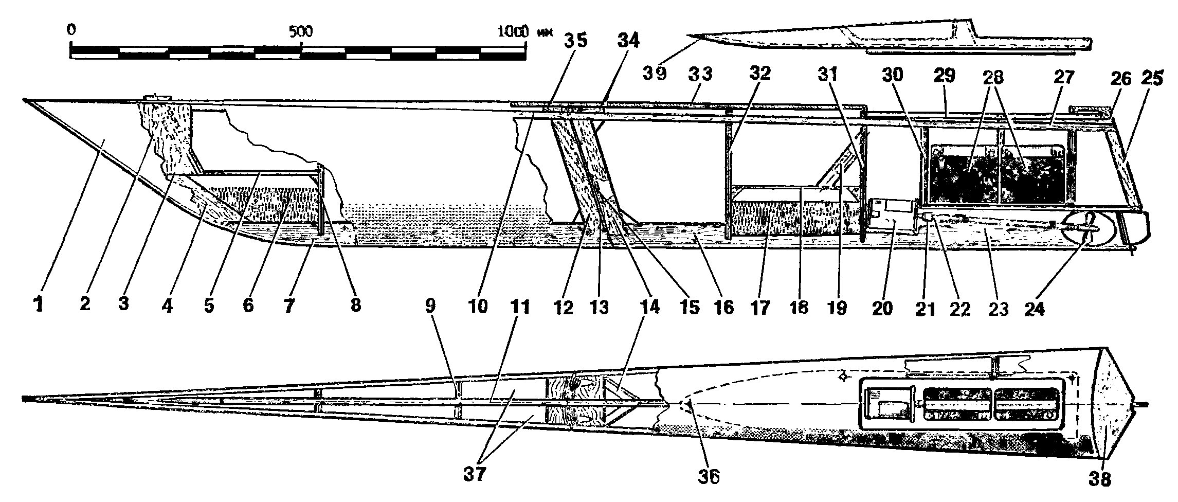
Продольный набор судна
Продольный набор судна

HMS pandora 1779
HMS pandora 1779

HMS inflexible 1876
HMS inflexible 1876



Гальюнная фигура Лев на корабль
Гальюнная фигура Лев на корабль

Петровский причал Ростов на Дону
Петровский причал Ростов на Дону

Wooden Boat building

Фото: Wooden Boat building


Катти Сарк корабль гальюнная фигура
Катти Сарк корабль гальюнная фигура



Яхты с обратным форштевнем
Яхты с обратным форштевнем

Бульб корабля
Бульб корабля



Киль Южанка 2
Киль Южанка 2

Корабль Адлер фон Любек
Корабль Адлер фон Любек

Корабль Витязь
Корабль Витязь



Гальюнная фигура пиратского корабля
Гальюнная фигура пиратского корабля

Похожие фото:

Комментарии
Минимальная длина комментария - 50 знаков. комментарии модерируются
Кликните на изображение чтобы обновить код, если он неразборчив