Машинатор » Регулировка механизмов управления

Регулировка механизмов управления

06 апр
---
1
0

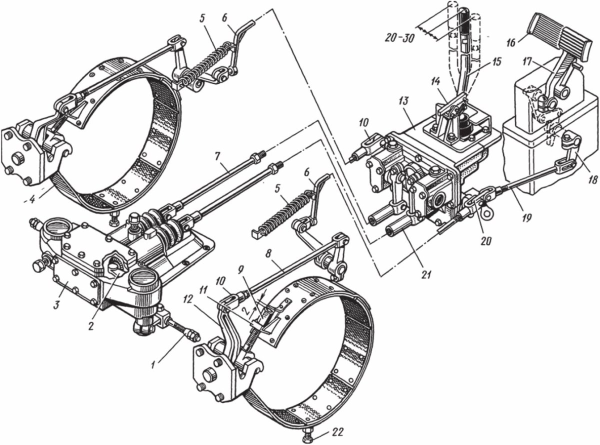
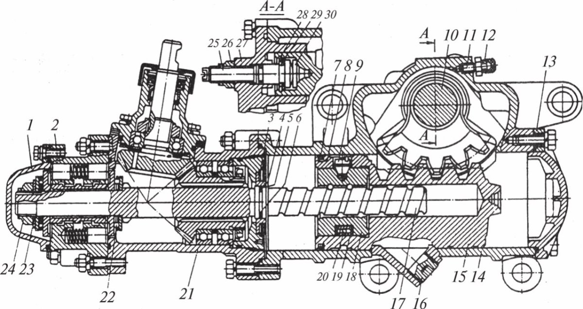
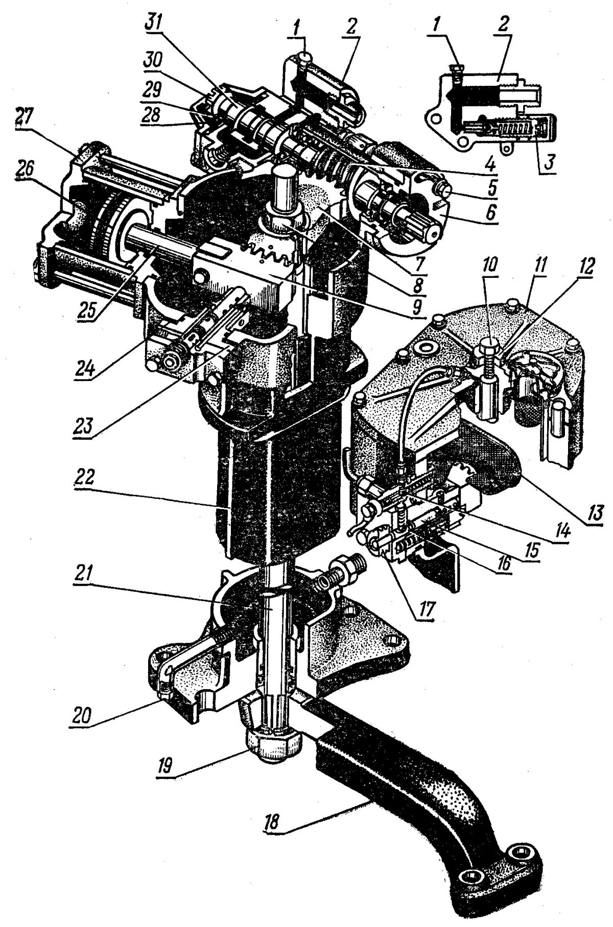
Механизм поворота тормоза трактора т 170
Механизм поворота тормоза трактора т 170

Мануал для мотоцикла
Мануал для мотоцикла

Червячный рулевой механизм ВАЗ 2107
Червячный рулевой механизм ВАЗ 2107



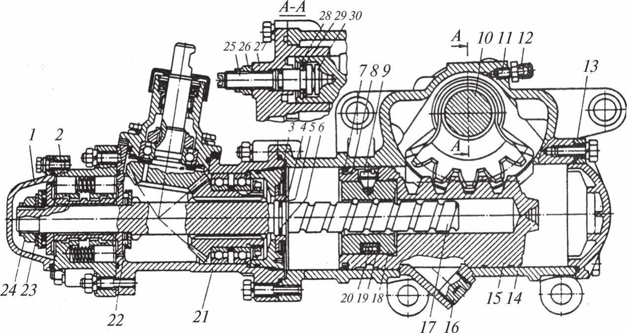
Поворотный механизм бульдозера т 170
Поворотный механизм бульдозера т 170

Электрическая схема Honda bf 50
Электрическая схема Honda bf 50

Рулевой механизм ВАЗ 2114
Рулевой механизм ВАЗ 2114

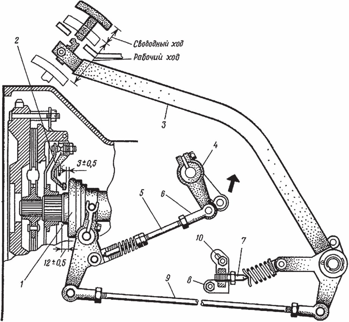
Регулировка муфты сцепления ДТ 75
Регулировка муфты сцепления ДТ 75

Рулевой механизм автомобиля ГАЗ-3307
Рулевой механизм автомобиля ГАЗ-3307

Регулировочный винт рулевой VW Polo
Регулировочный винт рулевой VW Polo

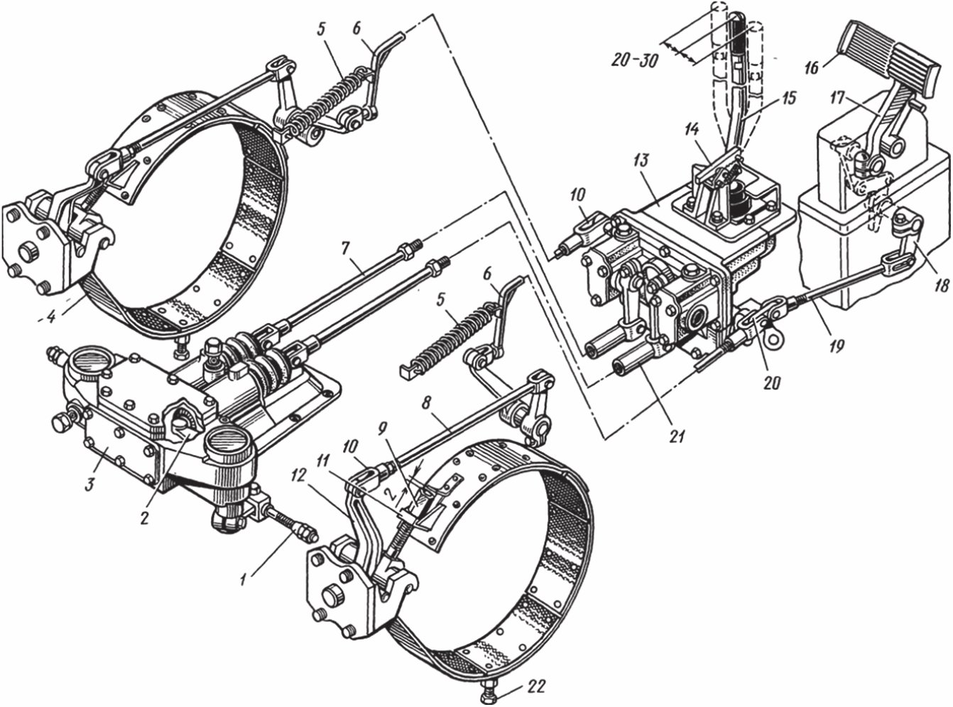
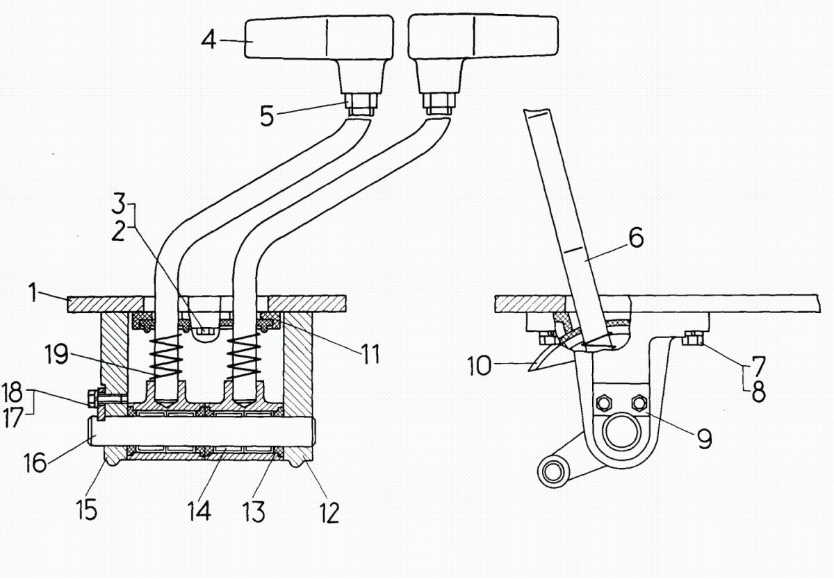
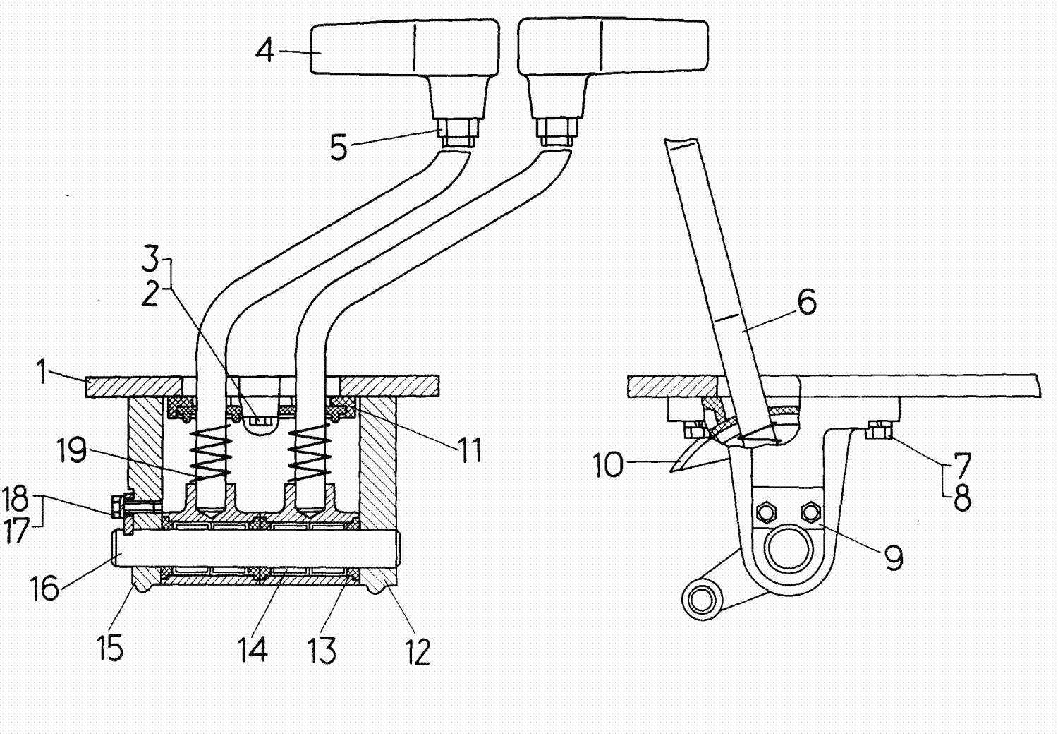
Система подвижных упоров управления СПУУ-52

Фото: Система подвижных упоров управления СПУУ-52


Рулевой механизм автомобиля МАЗ 5335
Рулевой механизм автомобиля МАЗ 5335



Рычаг переключения ВОМ МТЗ 80
Рычаг переключения ВОМ МТЗ 80

Регулировочный болты на АКП Ниссан
Регулировочный болты на АКП Ниссан

Рулевая колонка трактора МТЗ 80
Рулевая колонка трактора МТЗ 80

Схема тормозной рычажной передачи грузового вагона
Схема тормозной рычажной передачи грузового вагона

Гидравлический усилитель рулевого управления КАМАЗ 4310
Гидравлический усилитель рулевого управления КАМАЗ 4310

Автоматический регулятор тормозных сил КАМАЗ 5320
Автоматический регулятор тормозных сил КАМАЗ 5320

Тормозная система МТЗ 80.1

Фото: Тормозная система МТЗ 80.1


Рулевой механизм КАМАЗ 5320 схема
Рулевой механизм КАМАЗ 5320 схема

Схема устройства механического привода переключения передач
Схема устройства механического привода переключения передач

Кулиса КПП МАЗ 5337
Кулиса КПП МАЗ 5337

Рулевой редуктор рулевая ВАЗ 2107
Рулевой редуктор рулевая ВАЗ 2107

Люфтомер рулевого управления схема
Люфтомер рулевого управления схема

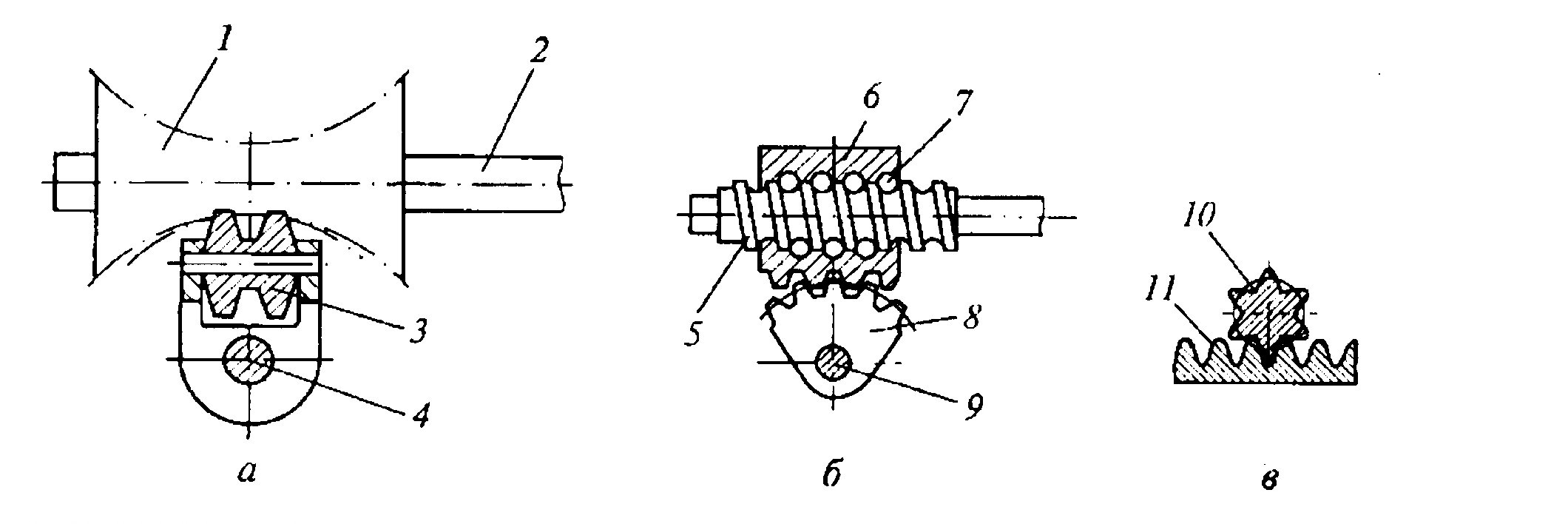
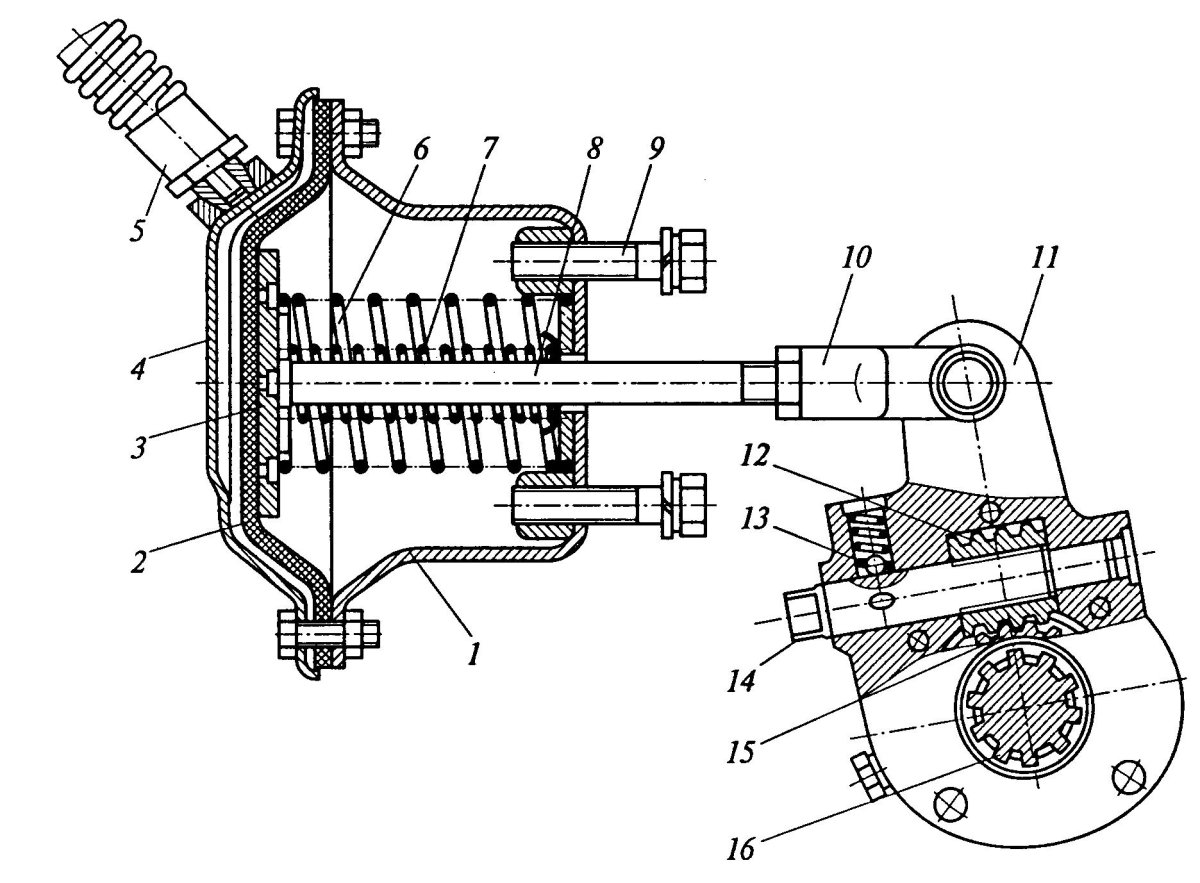
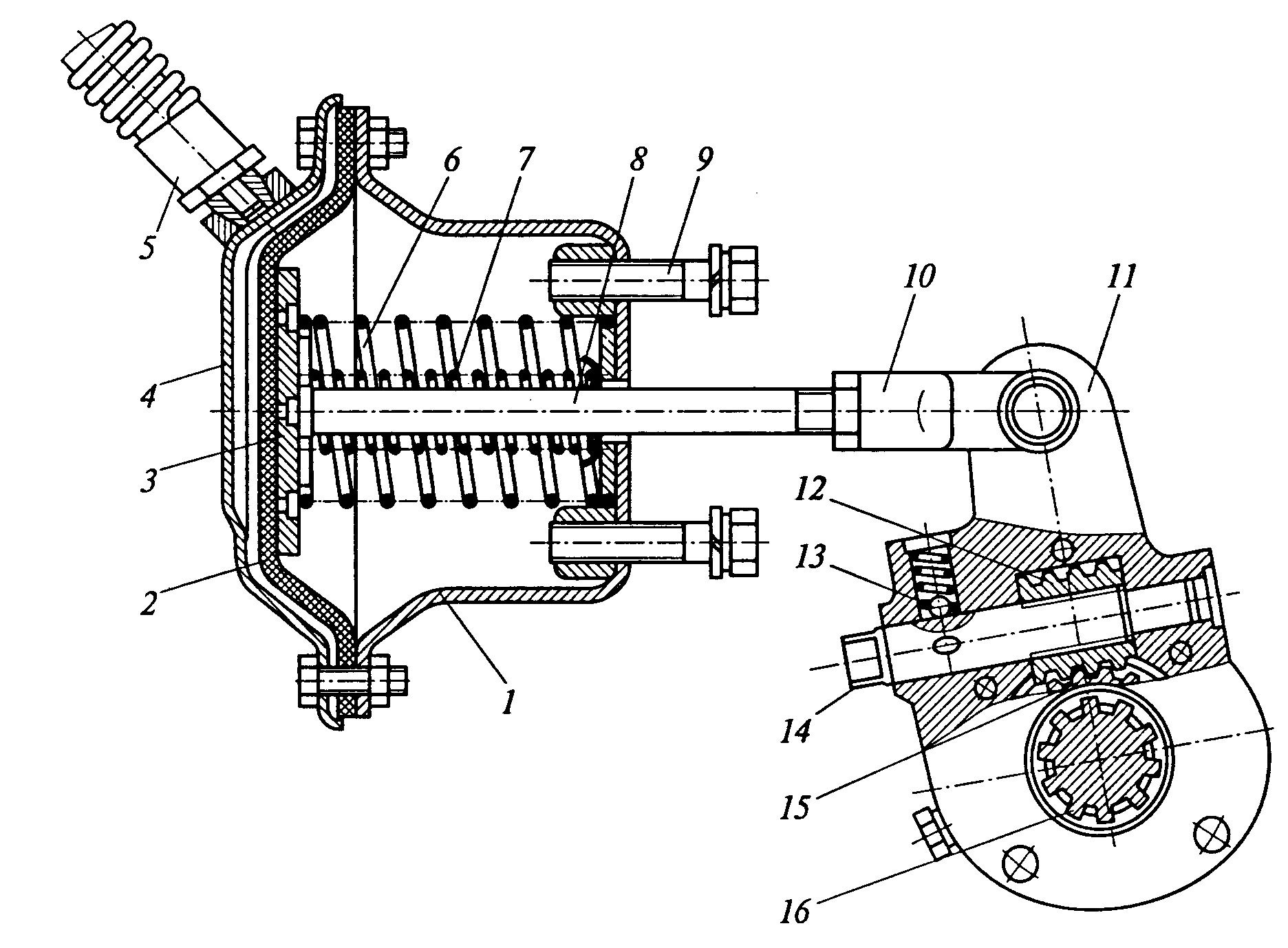
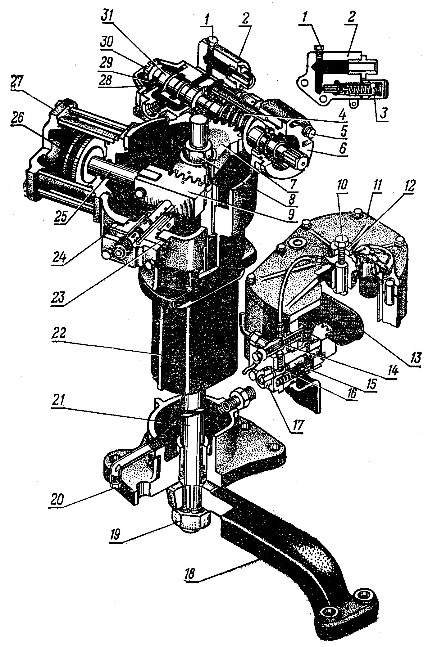
Сервомеханизм бортовых фрикционов т170
Сервомеханизм бортовых фрикционов т170

Схема вала отбора мощности МТЗ-80
Схема вала отбора мощности МТЗ-80

Рулевой редуктор схема на ГАЗ 31105
Рулевой редуктор схема на ГАЗ 31105

Детали рулевой колонки ВАЗ 2114
Детали рулевой колонки ВАЗ 2114

Привод управления КПП МАЗ 4370
Привод управления КПП МАЗ 4370

Регулировка муфты сцепления МТЗ 82
Регулировка муфты сцепления МТЗ 82

Как правильно настроить переключатель скоростей на велосипеде
Как правильно настроить переключатель скоростей на велосипеде

Рулевой механизм МАЗ 4370
Рулевой механизм МАЗ 4370

Механизм переключения передач КАВЗ 4238
Механизм переключения передач КАВЗ 4238

Рычаг регулятора оборотов g340vke
Рычаг регулятора оборотов g340vke

Схема сцепления Шакман f2000
Схема сцепления Шакман f2000

Включение ВОМ МТЗ 1221
Включение ВОМ МТЗ 1221

Привод педали сцепления УАЗ 469
Привод педали сцепления УАЗ 469

Механизм рулевой УАЗ-3163 Патриот схема
Механизм рулевой УАЗ-3163 Патриот схема

Привод газа двигателя Honda gx200

Фото: Привод газа двигателя Honda gx200


Червячный вал рулевого управления
Червячный вал рулевого управления

Регулировка троса КПП поло седан
Регулировка троса КПП поло седан

Вал рулевой колонки Ауди 100
Вал рулевой колонки Ауди 100

Механизм поворота МТЛБ
Механизм поворота МТЛБ

Huter 6000 пружина дроссельной заслонки
Huter 6000 пружина дроссельной заслонки

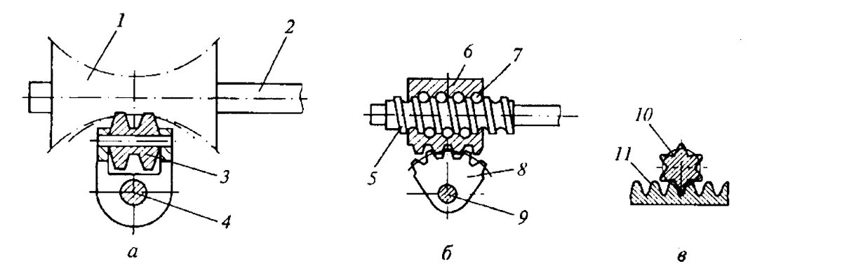
Червячно роликовый рулевой механизм схема
Червячно роликовый рулевой механизм схема

Система изменения фаз газораспределения в двигателе
Система изменения фаз газораспределения в двигателе

Рычаги управления б10мб
Рычаги управления б10мб

Камера тормозная ЗИЛ 131
Камера тормозная ЗИЛ 131

Редуктор ГУР КАМАЗ 5320
Редуктор ГУР КАМАЗ 5320

Механизм переключения задней передачи ВАЗ 2110
Механизм переключения задней передачи ВАЗ 2110

Трос управления переключения коробки передач Шевроле Каптива
Трос управления переключения коробки передач Шевроле Каптива

Как включить вал отбора мощности на МТЗ 82.1
Как включить вал отбора мощности на МТЗ 82.1

Клапан регулятора фаз газораспределения Audi 1.8
Клапан регулятора фаз газораспределения Audi 1.8

Редуктор подъема ТЭ-320 сб.106
Редуктор подъема ТЭ-320 сб.106

Кулиса КПП Таврия 1102
Кулиса КПП Таврия 1102



Привод управления КПП КПП КАМАЗ 6520
Привод управления КПП КПП КАМАЗ 6520

Регулировочный винт сцепления мопеда Альфа
Регулировочный винт сцепления мопеда Альфа

Технологическая карта ремонта рулевого управления ВАЗ 2121

Фото: Технологическая карта ремонта рулевого управления ВАЗ 2121

Похожие фото:

Комментарии
Минимальная длина комментария - 50 знаков. комментарии модерируются
Кликните на изображение чтобы обновить код, если он неразборчив